TOOL LIST
Process1.CATProcess
Assembly 3 :
Assembly_4
Tool : T3_T-Slotter_D_50
Tool number
3
Name
Assembly_4
Orientation
0deg
Set Z
0mm
Set Y
0mm
Set X
0mm
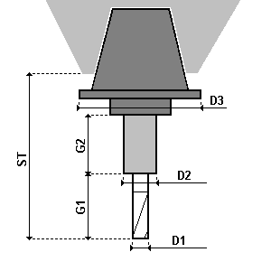
Total set length
95mm
Diameter 3
100mm
Diameter 2
75mm
Diameter 1
50mm
Gage 2
20mm
Gage 1
55mm
Power
MFG_FIXED
Number of components
3
Type : MfgMillAndDrillToolAssembly
T3_T-Slotter_D_50
Ball-end tool
false
Tool number
3
Name
T3 T-Slotter D 50
Upper corner radius
0mm
Corner radius
0mm
Body diameter
15mm
Length
10mm
Overall length
100mm
Nominal diameter
50mm
Machining quality
Either
Composition
One piece
Tooth material
High speed steel
Way of rotation
Right hand
Tool rake angle
0deg
Number of flutes
8
Max life time
0s
Max machining length
0mm
Radial depth of cut for rough
0mm
Axial depth of cut for rough
0mm
Roughing feedrate
0mm_turn
Roughing cutting speed
0mm_mn
Radial depth of cut for finish
0mm
Axial depth of cut for finish
0mm
Finishing feedrate
0mm_turn
Finishing cutting speed
0mm_mn
Type : T-Slotter
Tool Compensation
Compensation Type
Corrector Number
Length Number
Tool Diameter
P1
1
1
0